(отделено) Cessna R172 c Continental IO360K
Модераторы: smixer, lt.ak, vova_k, Александр E - Cessna
Re: (отделено) Cessna R172 c Continental IO360K
Лечится вот таким комплектом.
- Вложения
-
- 02.jpg (7.45 КБ) 11170 просмотров
- Serega
- Site Admin
- Сообщения: 5919
- Зарегистрирован: 14 авг 2006, 15:43
- Member of AOPA: Yes
- Откуда: St. Petersburg
Re: (отделено) Cessna R172 c Continental IO360K
Именно этот узел. Но опять же - сказали, что там есть регулировочная шайба. Купить целый комплект всегда смогу. 
Иванов Сергей
Re: (отделено) Cessna R172 c Continental IO360K
А если износ втулок или болтов, какими шайбами тогда устранять
Есть и наборы шайб,но скорей всего болты тоже подносились (особенно средний ,он самый маленький по диаметру). Я разбирал данный узел и пришел к выводу что лучше один раз сделать нормально. 
- Anatoly M - Cessna
- Новичок
- Сообщения: 38
- Зарегистрирован: 02 окт 2009, 16:57
- Member of AOPA: No
- Откуда: Москва
Re: (отделено) Cessna R172 c Continental IO360K
Выдержка из «Руководства по техническому обслуживанию самолета Cessna-172S»: Переднее посадочное шасси – Поиск неисправностей.Serega писал(а): 2) Очень сильная тряска передней стойки на пробеге...
1. Поиск неисправностей.
Неисправность: Колебание переднего колеса.
Возможная причина: Ослабление болтов крепления передней стойки.
Способ устранения: Затяните болты крепления передней стойки.
Возможная причина: Ослабление или износ рулевого механизма переднего колеса.
Способ устранения: Затяните механизм. Замените неисправные детали на новые.
Возможная причина: Дисбаланс переднего колеса.
Способ устранения: Выполните балансировку переднего колеса. См. «Переднее посадочное шасси – Инструкции по техническому обслуживанию».
Возможная причина: Слишком свободно установлены подшипники колеса.
Способ устранения: Установите подшипники колеса должным образом.
Возможная причина: Неисправный демпфер шимми.
Способ устранения: Отремонтируйте демпфер или установите новый.
Возможная причина: Недостаточное количество гидравлической жидкости в демпфере шимми.
Способ устранения: Проведите работы по обслуживанию демпфера шимми. См. Главу 12, «Демпфер шимми переднего шасси – Обслуживание».
Возможная причина: Ослабление соединений шлиц-шарнира.
Способ устранения: Установите регулировочные шайбы, или, если потребуется, новые детали.
- Anatoly M - Cessna
- Новичок
- Сообщения: 38
- Зарегистрирован: 02 окт 2009, 16:57
- Member of AOPA: No
- Откуда: Москва
Re: (отделено) Cessna R172 c Continental IO360K
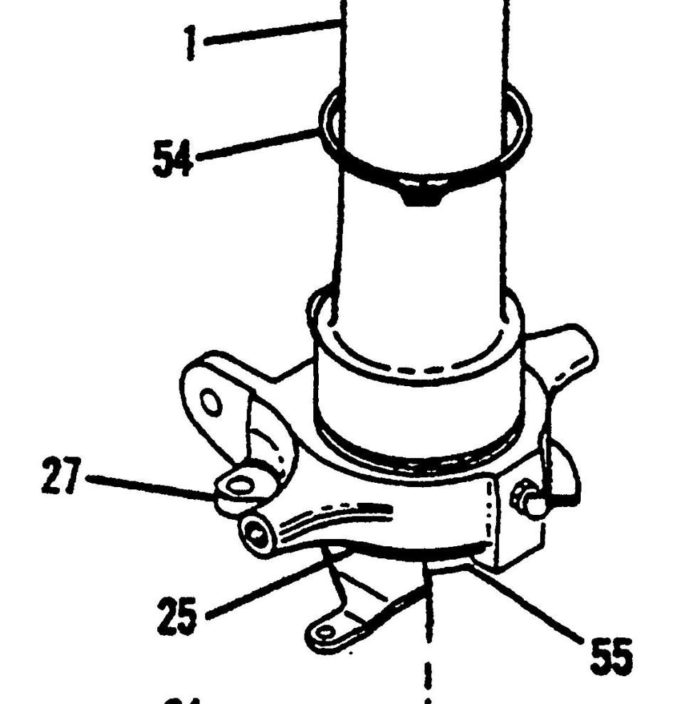
Если речь действительно идет о шлиц-шарнире, то регулировочные шайбы устанавливаются в показанных на рисунке местах: Шайбы бывают разной толщины: 0.010, 0.007 и 0.005 inch.Serega писал(а):Именно этот узел. Но опять же - сказали, что там есть регулировочная шайба. Купить целый комплект всегда смогу.
http://www.aircraftspruce.com/catalog/a ... himtql.php
Для устранения данного дефекта рекомендую обратиться к специалистам фирмы Avex.
P.S. Каталожный номер регулировочных шайб взят из "Illustrated Parts Catalog. Cessna. Model 172R/172S".
- Serega
- Site Admin
- Сообщения: 5919
- Зарегистрирован: 14 авг 2006, 15:43
- Member of AOPA: Yes
- Откуда: St. Petersburg
Re: (отделено) Cessna R172 c Continental IO360K
Михаил, спасибо! Я очень ценю, что есть такая компания как JetTransfer и такие специалисты как Вы, искренне переживающие за "дело".
Иванов Сергей
-
Kurt
- SAONовец со стажем
- Сообщения: 722
- Зарегистрирован: 28 сен 2009, 22:06
- Member of AOPA: No
- Откуда: С-Пб
Re: (отделено) Cessna R172 c Continental IO360K
Люфты шлицшарнира действительно являются одной из наиболее распространенных причин возникновения шимми. В данном случае речь идет не о (или не только о) нем, а об вороте механизма управления носовым колесом - 27 и регулировочных шайбах - 25.
- Serega
- Site Admin
- Сообщения: 5919
- Зарегистрирован: 14 авг 2006, 15:43
- Member of AOPA: Yes
- Откуда: St. Petersburg
Re: (отделено) Cessna R172 c Continental IO360K
Несколько фото еще. На фото не я 
- Вложения
-
- x_b9687cb2.jpg (43.2 КБ) 10912 просмотров
-
- x_b3f5eb23.jpg (67.36 КБ) 10908 просмотров
-
- x_6f0c67b2.jpg (56.22 КБ) 10909 просмотров
Иванов Сергей
-
su27
- Почетный SAONовец
- Сообщения: 4990
- Зарегистрирован: 15 дек 2006, 00:19
- Member of AOPA: Yes
- Откуда: Заграница
Re: (отделено) Cessna R172 c Continental IO360K
О, я этого пса помню, это он только на вид такой страшный
АОПА-Россия пожизненно.
-
pilotagnik
- Новичок
- Сообщения: 3
- Зарегистрирован: 19 окт 2009, 20:24
Re: (отделено) Cessna R172 c Continental IO360K
Спасибо за консультации. Демпфер шимми закачан-прокачан, болты крепления затянуты, подшипники колес смотрелись. Будем разбирать остальное.
Re: (отделено) Cessna R172 c Continental IO360K
Вообще данный узел нужно смотреть весь. Стрелками указаны места где появляются люфты.
-
silver
- Активный участник
- Сообщения: 90
- Зарегистрирован: 11 мар 2010, 20:27
- Member of AOPA: No
- Контактная информация:
Re: (отделено) Cessna R172 c Continental IO360K
Обратите внимание на износ профиля переднего колеса, балансировку. Одна из причин шимми.
И натяжение/регулировку тяг от педалей к шарнирам проверьте.
И натяжение/регулировку тяг от педалей к шарнирам проверьте.
- Serega
- Site Admin
- Сообщения: 5919
- Зарегистрирован: 14 авг 2006, 15:43
- Member of AOPA: Yes
- Откуда: St. Petersburg
Re: (отделено) Cessna R172 c Continental IO360K
Всем спасибо! Стойку отрегулировали.
- Вложения
-
- x_8cf54355.jpg (37.52 КБ) 10672 просмотра
Иванов Сергей
- Anatoly M - Cessna
- Новичок
- Сообщения: 38
- Зарегистрирован: 02 окт 2009, 16:57
- Member of AOPA: No
- Откуда: Москва
Re: (отделено) Cessna R172 c Continental IO360K
Nose Wheel Shimmy. TECH NOTE No. 001
Перейдите по ссылке:
http://www.cessna.org/public/sampletech.pdf
Перейдите по ссылке:
http://www.cessna.org/public/sampletech.pdf